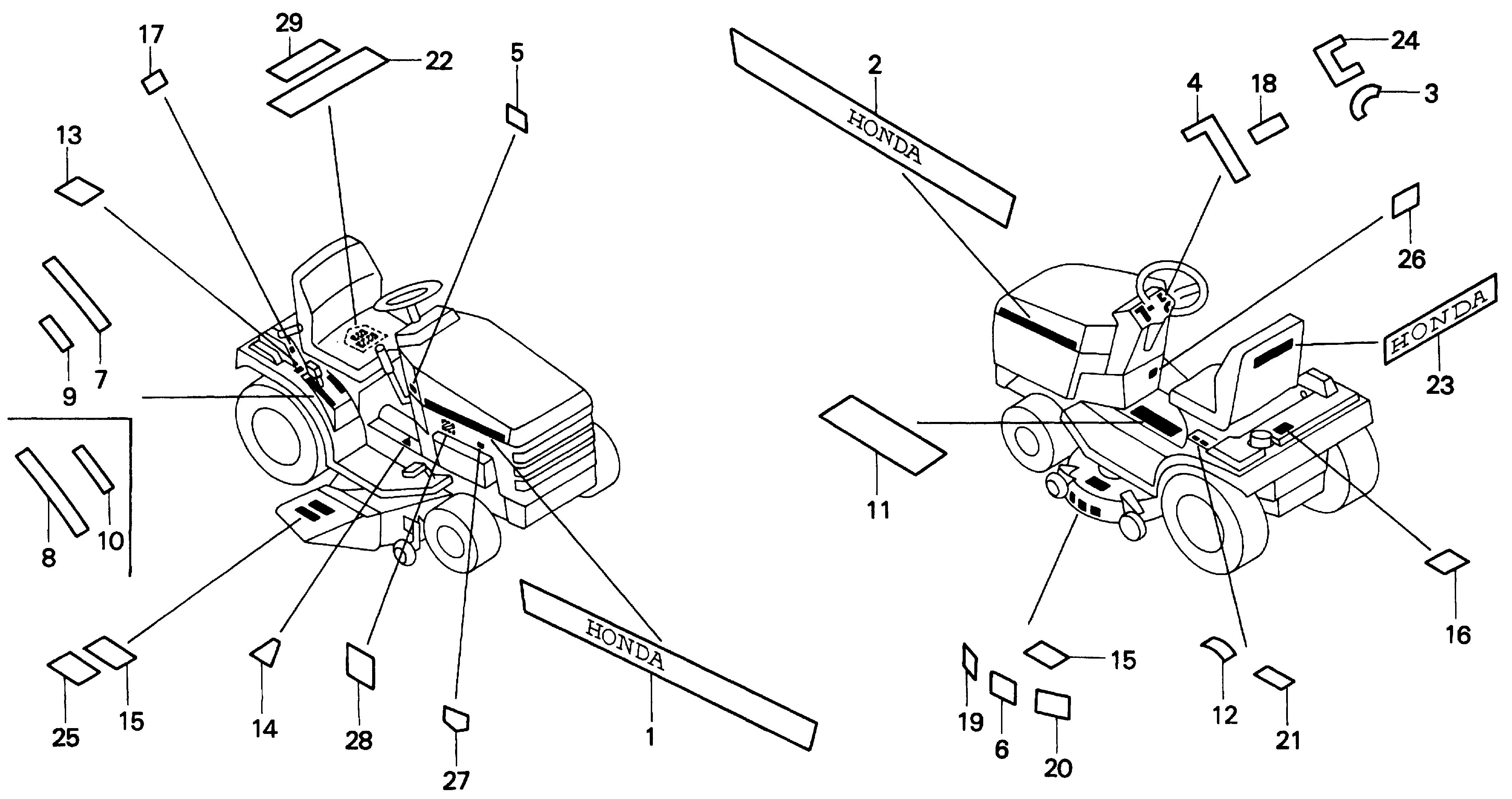
Lawn Tractor H H4013 H4013 SA/A MZAR-1000001-1999999 LABELS - Formula H Motorworks, Inc.

Ref No
Part Number
Description
Serial Range
Qty
Price

Ref No
1
Part Number
87101-758-700
Description
MARK, R. STRIPE (NOT AVAILABLE)
Serial Range
1000001 - 9999999

Ref No
2
Part Number
87102-758-700
Description
MARK, L. STRIPE (NOT AVAILABLE)
Serial Range
1000001 - 9999999

Ref No
3
Part Number
87105-758-000
Description
MARK, ENGINE SWITCH INDICATION (ENGLISH) (NOT AVAILABLE)
Serial Range
1000001 - 9999999

Ref No
4
Part Number
87107-758-010
Description
MARK, THROTTLE INDICATION (NOT AVAILABLE)
Serial Range
1000001 - 9999999

Ref No
5
Part Number
87108-758-000
Description
MARK, P.T.O. INDICATION
Serial Range
1000001 - 9999999
Qty
Price
$6.06

Ref No
6
Part Number
87110-758-010
Description
MARK, HEIGHT OPERATION (ENGLISH)
Serial Range
1000001 - 1000038

Ref No
6
Part Number
87110-758-020
Description
MARK, HEIGHT OPERATION (ENGLISH)
Serial Range
1000039 - 1002450

Ref No
6
Part Number
87110-758-030
Description
MARK, HEIGHT OPERATION (ENGLISH) (NOT AVAILABLE)
Serial Range
1002451 - 9999999

Ref No
8
Part Number
87111-758-701
Description
MARK A, CHANGE (ENGLISH) (NOT AVAILABLE)
Serial Range
1000001 - 9999999

Ref No
10
Part Number
87112-758-700
Description
MARK B, CHANGE
Serial Range
1000001 - 9999999
Qty
Price
$5.28

Ref No
11
Part Number
87114-758-010
Description
LABEL, OPERATION (H.S.T.) (NOT AVAILABLE)
Serial Range
1000039 - 9999999

Ref No
12
Part Number
87116-758-000
Description
MARK, INDICATOR (NOT AVAILABLE)
Serial Range
1000001 - 9999999

Ref No
13
Part Number
87118-758-010
Description
MARK, PARKING OPERATION (NOT AVAILABLE)
Serial Range
1000001 - 9999999

Ref No
14
Part Number
87120-758-000
Description
MARK, BRAKE INDICATION (NOT AVAILABLE)
Serial Range
1000001 - 9999999

Ref No
15
Part Number
87122-763-A00
Description
LABEL A, WARNING (ENGLISH)
Serial Range
1000001 - 9999999
Qty
Price
$16.70

Ref No
16
Part Number
87123-763-A00
Description
LABEL, FUEL WARNING (B)(ENGLISH)
Serial Range
1000001 - 9999999

Ref No
17
Part Number
87124-758-000
Description
MARK, PARKING INDICATION (NOT AVAILABLE)
Serial Range
1000001 - 1002450

Ref No
19
Part Number
87129-751-720
Description
MARK, INCH SIZE (38)
Serial Range
1000001 - 1000038
Qty
Price
$7.04

Ref No
19
Part Number
87129-758-L00
Description
MARK, INCH SIZE (38) (NOT AVAILABLE)
Serial Range
1000039 - 9999999

Ref No
20
Part Number
87131-758-020
Description
LABEL, BELT OPERATION (ENGLISH)
Serial Range
1000001 - 1000038

Ref No
20
Part Number
87131-758-030
Description
LABEL, BELT OPERATION (ENGLISH)
Serial Range
1000039 - 1002450

Ref No
21
Part Number
87138-758-000
Description
MARK, HEIGHT INDICATION (NOT AVAILABLE)
Serial Range
1000001 - 9999999

Ref No
23
Part Number
87158-758-000
Description
MARK, SEAT EMBLEM
Serial Range
1000001 - 9999999
Qty
Price
$24.52

Ref No
24
Part Number
87161-758-700
Description
MARK A, ENGINE SWITCH INDICATION (ENGLISH) (NOT AVAILABLE)
Serial Range
1000001 - 9999999

Ref No
25
Part Number
87207-758-010
Description
MARK, DANGER
Serial Range
1000001 - 9999999

Ref No
26
Part Number
87271-758-700
Description
MARK, BUZZER CAUTION (ENGLISH) (NOT AVAILABLE)
Serial Range
1000001 - 9999999

Ref No
27
Part Number
87539-737-E80
Description
MARK, EX. CAUTION (A)
Serial Range
1002939 - 9999999
Qty
Price
$7.12

Ref No
27
Part Number
87539-758-010
Description
MARK, EX. CAUTION (ENGLISH)
Serial Range
1000001 - 1002938

Ref No
27
Part Number
87539-758-020
Description
MARK, EX. CAUTION (ENGLISH)
Serial Range
1000001 - 1002938
Qty
Price
$5.96