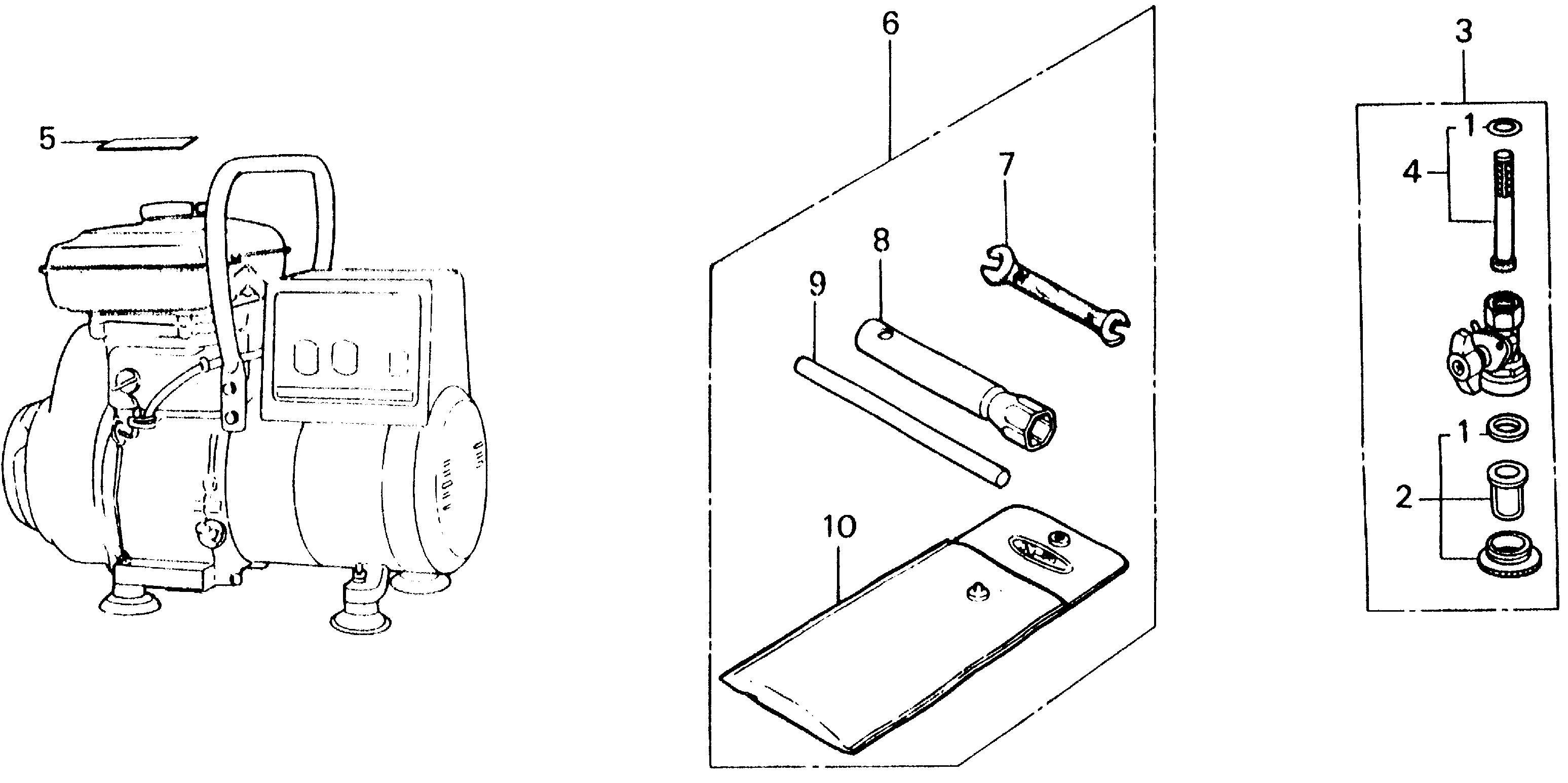
Generators EG EG1000 EG1000 A G150-1005695-9999999 LABEL@TOOLS - Formula H Motorworks, Inc.

Ref No
Part Number
Description
Serial Range
Qty
Price

Ref No
1
Part Number
16080-883-005
Description
GASKET SET, PETCOCK
Serial Range
1382075 - 9999999
Qty
Price
$13.04

Ref No
2
Part Number
16081-471-831
Description
CUP, FUEL STRAINER
Serial Range
1000001 - 9999999
Qty
Price
$29.58

Ref No
2
Part Number
16081-883-015
Description
CUP SET, FUEL STRAINER
Serial Range
1000001 - 9999999

Ref No
3
Part Number
16950-898-005
Description
PETCOCK ASSY.
Serial Range
1000001 - 9999999

Ref No
4
Part Number
16952-883-005
Description
SCREEN SET
Serial Range
1000001 - 9999999
Qty
Price
$18.96

Ref No
5
Part Number
87561-880-600
Description
MARK, CAUTION (ENGLISH/FRENCH/SPANISH)
Serial Range
1000001 - 9999999
Qty
Price
$5.40

Ref No
6
Part Number
89000-871-670
Description
TOOL KIT (N/A: SEE ASSEMBLY)
Serial Range
1000001 - 9999999

Ref No
7
Part Number
99001-10120
Description
SPANNER (10X12)
Serial Range
1000001 - 9999999
Qty
Price
$6.86

Ref No
8
Part Number
99004-21003
Description
WRENCH, BOX (P21)
Serial Range
1000001 - 9999999
Qty
Price
$4.98

Ref No
9
Part Number
99005-01000
Description
BAR A, HANDLE
Serial Range
1000001 - 9999999
Qty
Price
$1.54

Ref No
10
Part Number
89101-ME5-670
Description
BAG, TOOL
Serial Range
1000001 - 9999999